距高考还有

你知道哪些录取分数低、但学校很厉害的院校?

发布日期:2020-10-08
扫码二维码添加老师微信 扫码二维码添加老师微信

点击进群,掌握更多高考升学资讯>>>>高三群 648962469高二群 102441380高一群 89582399

查看资讯>>>>升空教育首页   升空讲堂   院校库   专业库



升空教育基于大数据算法推出估分选大学系统,点击此处即可进行测试

对考研人来说,最重要的就是择校了。

在大家为了几所名校争得头破血流时,有几所实力强劲,但由于 地理位置、历史文化等因素,导致“曝光度”一直不够的学校,可以说是考研院校中的“沧海遗珠”了。

都有哪些学校呢,一起来看看吧~

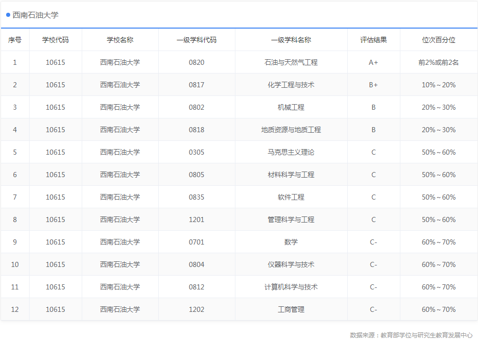
西南石油大学

坐标: 四川省成都市

属性: 世界一流学科建设高校,111计划

学科实力:

四川地区说实话教育发展是中西部地区比较好的,四川省有两所985高校(四川大学、电子科技大学),3所211高校(西南交通大学、西南财经大学、四川农业大学),所以在这种情况下部分双非院校就容易被忽略。

西南石油大学就是其中之一,该校的 石油与天然气工程专业学科实力位居全国第二。

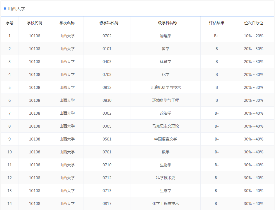
山西大学

坐标: 山西省太原市

属性: 山西省重点建设大学,省部共建大学

学科实力:

山西大学的发展历史非常悠久,自建校以来,该校对于自身的学科实力建设是一直都没松懈。

山西大学是14所重点建设的大学之一,并且是14所中不多的2所非211工程大学。该校的 法学、历史学、物理学十分优秀。总之,山西大学的实力不容小觑。

南京农业大学

地理位置:江苏省南京市

属性:211工程,985工程优势学科创新平台,世界一流学科建设高校

学科实力:

虽然南京农业大学的学校知名度不低,但与该校的综合实力相比,热度还是相对较对。

一般来说,作为一所211高校,拥有一个A+学科是比较正常的,两个是已经是很好了,三个基本是部分985的水平,而南京农业大学却拥有 四个A+,并且成功排进了全国高校A+学科的 前15名

以上几所学校有你想要报考的吗,如果有,那么恭喜你,真的是捡到宝了!

要想顺利考上你的目标院校,不努力学习怎么行?!

四川升空教育 四川升空教育

升空简介   BRIEF INTRODUCTION

四川升空教育

四川冠博升空教育咨询有限公司成立于2008年(以下简称升空教育),是西南片区成立最早的升学规划指导机构之一,也是率先引进ISO9001“高中生升学咨询服务”国际质量认证体系的机构。我们服务的主要内容有:高考志愿填报、强基计划、综合评价、少数民族预科、国家专项、高校专项、地方专项、高水平艺术团、高水平运动队、高中生学情管理、大学生学业与职业规划等项目,全方位多渠道为高中学子量身定制升学规划。公司以“诚信负责、质量为本、勤学精进、开拓创新”的服务理念,多年来帮助万余名学子实现学业梦想。

四川升学规划专家

扫一扫微信咨询专家

电话咨询:

成都:028-68834610

绵阳:0816-6336002

微信公众平台

四川升学规划专家

微信咨询

升空教育李老师
关于升空
公司简介
联系我们
专家团队
数据查询
院校查询
专业查询
估分选大学
高考资讯
招生政策
强基计划资讯
港澳院校内地招生

扫一扫,在线咨询

添加微信与我们联系
  • 成都地址:成都市武侯区科华北路58号亚太广场C座9楼
  • 咨询热线:028-68834610
  • 绵阳地址:绵阳市涪城区万达广场1单元11楼
  • 咨询热线:0816-6336002
  • 绵阳地址:绵阳市教育南路69号五方校园广场2栋2单元2-71/72
  • 咨询热线:0816-6985002
  • 宜宾地址:蜀南大道14号新世纪10楼18号
  • 咨询热线:13548013413
  • 西昌地址:四川省西昌市顺河路口美丽华酒店西一楼
  • 咨询热线:18280646325
  • 乐山地址:乐山市市中区白云街336号时代购物街3楼
  • 咨询热线:18781311127 朱老师
  • 备案号:蜀ICP备18015759号-1 蜀ICP备18015759号-2    

申明:本网站数据来自于四川省教育考试院、教育部阳光高考信息公开平台、《招生考试报》、《高考指南》、高校招生杂志社、四川教育发布、招生考试信息网ZK789及其他网络平台,如有侵权请联系管理员删除。

四川高考升学免费咨询:028-85004612、0816-6336002

免费预约咨询

请放心输入您的电话号码,点击预约咨询,稍后您将接到我们的电话,该通话对您完全免费,请放心接听!

称呼不能为空!
请输入正确的电话号码!

用户登录

账号不能为空!
密码不能为空!
还没有账号: 点此免费注册